
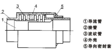
JZM直埋式波紋補償器
鞏義市新躍供水有限公司生產的直埋式波紋補償器是集國內外同類產品的成功經驗,潛心研究出的一種工藝先進,安裝使用方便的管道設備。其中大中口徑的直埋式波紋補償器是我公司的拳頭產品之一,尤其在設計和生產大口徑…



鞏義市新躍供水有限公司生產的直埋式波紋補償器是集國內外同類產品的成功經驗,潛心研究出的一種工藝先進,安裝使用方便的管道設備。其中大中口徑的直埋式波紋補償器是我公司的拳頭產品之一,尤其在設計和生產大口徑直埋式波紋補償器方面,在國內外已處于絕對領先水平。
直埋式波紋補償器說明:
直埋式波紋補償器又稱直埋式波紋管,直埋雙向伸縮器,適用于只有軸向位移的管路中,本產品具有補償橫向位移和軸向于橫向合成位移的能力,但因為補償量較小一般只做為軸向補償更能發揮器特性,使用壽命更長、更安全可靠。
JZM型直埋式波紋補償器 安裝注意事項:
1 為使直埋是波紋補償器起到補償作用,直埋式波紋補償器 兩端必須設固定支架,防止管道受內壓推力影響外移拉伸2 直埋式波紋補償器 的一端(指單向補償的直埋式補償器死端)要靠近一端的固定支架,用補償器的活頭補償管道。
3 根據補償量設定兩個固定支架的距離,補償量一般不大于管徑。
4 試壓過程中以補償器不得出現拉伸現象。
5 JZM型直埋式波紋補償器主要用于直埋管道的軸向補償,具有抗彎能力。JZM型直埋式波紋補償器主要適用于軸向補償,同時具有超強抗彎能力,所以不考慮管道下沉的影響。JZM型直埋式波紋
6 JZM型直埋式波紋補償器適用于只有軸向位移的管路中,本產品具有補償橫向位移和軸向與橫向合成位移的能力,但因為補償量較小一般只做為軸向補償更能發揮其特性,使用壽命更長,更安全可靠。
7直埋內壓波紋補償器要求在兩固定支座之間只裝一個波紋補償器,其補償器對支座作用力的計算與單式波紋補償器對支座作用力的計算相同,由于直埋內壓波紋補償器在管道上實現自由補償和安裝簡單等特點,因而深受工程設計及安裝使用者的歡迎。 直埋外壓式波紋管補償器具備外壓式補償器及自由補償直埋式補償器的雙重有點,在熱網管道施工中得以廣泛的應用。

如果您是波紋補償器的客戶,或者在使用方面有什么問題,請即刻拿起您的電話,撥打我們的銷售熱線:【0371-64032222】手機:【13140066578/13253475755】技術咨詢:【13103715806】我們將為您提供專業解決方案!即刻撥打,了解更多,相信與新躍公司的溝通一定對您的選擇有所幫助。

膨脹節/伸縮節
如何根據市場行情判斷橡膠接頭庫存數量

卡箍橡膠接頭的技術特點

橡膠接頭和法蘭盤如何配套安裝使用
橡膠接頭 撓性橡膠接頭…
橡膠接頭、卡箍橡膠接頭、大翻邊橡膠接頭新躍橡膠接頭廠家,專業生產,量大從優!
不銹鋼雙法蘭限位伸縮…
不銹鋼雙法蘭伸縮接頭是由本體、密封圈、壓蓋、伸縮短管等主要部件組成。在松套伸縮接頭原有性能的基礎上增設限位裝置,在最大伸縮量處用雙螺母鎖定。管道在允許的伸縮量中可以自由伸縮,一旦超…
可曲撓橡膠接頭
可曲撓橡膠接頭簡介可曲撓橡膠接頭又叫做橡膠管軟接頭、柔性橡膠接頭、橡膠軟接頭、橡膠接頭、高壓橡膠接頭、橡膠減震器、補償器等。按連接方式分松套法蘭式、固定法蘭式和螺紋式3種;按結構可分…
人防穿線密閉套管
穿線密閉套管說明:1、當迎水面為腐蝕性介質時,可采用封堵材料將縫隙封堵;2.套管穿墻處如遇非混凝土墻壁時,應局部改用混凝土墻壁,其澆注范圍應比翼環直徑(DS)大200,并且必須將套管一次澆固…