
圓形多波補償器
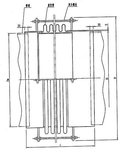
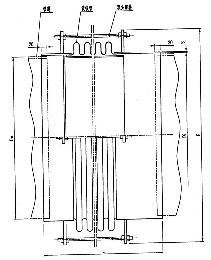
一、概述圓形多波補償器主要用于電廠煙風道,用來吸收熱位移和(或)減震,本系列產品是根據GB/t12777標準,并參照EJMA(《美國膨脹節制造商協會標準》)設計制造,規格系列為DN100~DN4000共34種,系列外的規格,可向本廠…
|
圓形多波補償器主要用于電廠煙風道,用來吸收熱位移和(或)減震,本系列產品是根據GB/t12777標準,并參照EJMA(《美國膨脹節制造商協會標準》)設計制造,規格系列為DN100~DN4000共34種,系列外的規格,可向本廠另行訂貨。
二、性能參數
1、使用壓力(p):-30~30kPa
2\、使用溫度(t):≤400℃
3、波紋管材質:奧氏不銹鋼0Cr18Ni9(GB3280)
4、產品剛度
參數表中列出的剛度均系20℃時的剛度,由下表得到實際溫度下對應的剛度。
工作溫度(℃) | 20 | 100 | 150 | 200 | 250 | 300 | 350 | 400 | 400 |
剛度修正系數fk | 1 | 0.99 | 0.98 | 0.97 | 0.95 | 0.93 | 0.9 | 0.86 | 0.84 |
剛度值 | Kx=fk×KXO Ky=fk×Kyo |
5、補償量
補償器主要吸收軸向位移,參數表中所列的軸向補償量Xo主要為壓縮位移。
單個圓形多波補償器很難吸收徑向位移。當需要吸收徑向位移時常采用兩件圓形多波補償器或選用三維補償器,或與本廠聯系進行非標設計。
6、疲勞壽命
參數表中所列補償量對應的疲勞壽命≥1000次。
7、連接方式:
內插焊,即管道插入補償器接口內,插入量為20mm.
三、訂貨時需提供的參數
圓管道的外徑(Dw);產品的長度及補償量。
圓管道的外徑(Dw);產品的長度及補償量。

膨脹節/伸縮節

在高溫干燥環境下應使用哪種橡膠接頭

橡膠接頭因不同地區的多種叫法

我公司橡膠接頭使用在深圳工程,請注意查收!
橡膠接頭 撓性橡膠接頭…
橡膠接頭、卡箍橡膠接頭、大翻邊橡膠接頭新躍橡膠接頭廠家,專業生產,量大從優!
不銹鋼雙法蘭限位伸縮…
不銹鋼雙法蘭伸縮接頭是由本體、密封圈、壓蓋、伸縮短管等主要部件組成。在松套伸縮接頭原有性能的基礎上增設限位裝置,在最大伸縮量處用雙螺母鎖定。管道在允許的伸縮量中可以自由伸縮,一旦超…
可曲撓橡膠接頭
可曲撓橡膠接頭簡介可曲撓橡膠接頭又叫做橡膠管軟接頭、柔性橡膠接頭、橡膠軟接頭、橡膠接頭、高壓橡膠接頭、橡膠減震器、補償器等。按連接方式分松套法蘭式、固定法蘭式和螺紋式3種;按結構可分…
人防穿線密閉套管
穿線密閉套管說明:1、當迎水面為腐蝕性介質時,可采用封堵材料將縫隙封堵;2.套管穿墻處如遇非混凝土墻壁時,應局部改用混凝土墻壁,其澆注范圍應比翼環直徑(DS)大200,并且必須將套管一次澆固…